Лебедка тяговая электрическая ТЭЛ предназначается для производства подъемно-транспортных операций при монтажных, строительных и прочих работах, а также для комплектации строительных подъемных устройств.
Подробное описание
Лебедка электрическая рассчитана для работы в следующих условиях:
температура от +40°С до - 40°С;
невзрывоопасная окружающая среда;
рабочее состояние - крепление на горизонтальной площадке;
легкий режим работы;
рабочее напряжение электросети 380В, частота тока 50Гц.
Срок службы лебедки - 10 лет.
Технические характеристики:
| ТЭЛ-6 | ТЭЛ-7 | ТЭЛ-8 | |
| Тяговое усилие, тн | 6 | 7 | 8 |
| Расчетная канатоемкость, м | 250 | 250 | 300 |
| Диаметр каната, мм | 22,5 | 24 | 25,5 |
| Расчетная скорость навивки каната на первом слое, м/с | 0,2 | 0,25 | 0,053 |
| Диаметр барабана, мм | 325 | 426 | 426 |
| Тормоз | ТКГ-200 | ТКГ-200 | ТКГ-200 |
| Редуктор | цилиндрический | цилиндрический | цилиндрический |
| Мощность двигателя, кВт | 11 | 15 | 7,5 |
| Электрический ток, В; частота, Гц | 380,5 | 380,5 | 380,5 |
| Масса (без каната), кг | 2500 | 3000 | 2200 |
| Габаритные размеры лебедки мм | 1625х1750х875 | 1700х1850х900 | 1750х1910х950 |

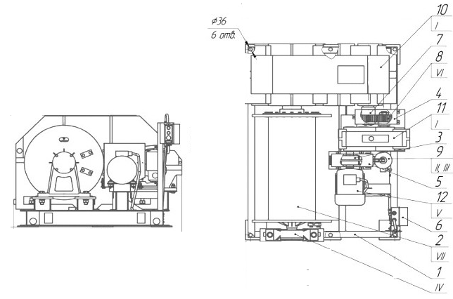
Состав лебедки:
1. Рама
2. Барабан в сборе
3. Муфта
4. Кожух
5. Кожух
6. Установка пусковой аппаратуры
7. Шестерня
8. Шестерня
9. Тормоз
10. Редуктор
11. Редуктор
12. Электродвигатель





Провод ПЭТВ-2, ПЭВТЛ-2, TIW-B, ПНЭТ, ПСДКТ, ПЭШО, ПЭЛШО, литцендрат ЛЭП, ЛЭЛО,ЛЭШО,ЛЭПКО
Провод гибкий, МПТФ, МПО 33-11, МПО, МПМ, МЛТП, МГТФЭ, НВЭ, НВ-4, НВ-1, ПУГВ, МГШВ, МП37-12, МПЭ37-12, МС, МСЭО16-13, 5-11,26-13, БИФ-Н, БИФ, БИФЭЗ-Н, ПТЛ, БИН
Нихром в лентах, катушках Х20Н80, вольфрам ВА-А-I, молибден проволока М4-I-А, манганин ПЭМ, ПЭШОМ, константан ПЭК, ПЭШОК, фехраль Х23Ю5Т, кабель термопарный


