Лебедка тяговая У5120.60 предназначена для производства подъемнотранспортных операций при строительных, монтажных и других работах, а также для комплектации строительных подъемных устройств.
Подробное описание
Рассчитана для работы в следующих условиях:
- окружающая среда - невзрывоопасная;
- температура окружающей среды от +40° С до - 40° С;
- климатическое исполнение "У" и "Т", категория "2" по ГОСТ 15150-69;
- рабочее положение - крепление на горизонтальной площадке;
- режим работы легкий;
- рабочее напряжение 380В, частота тока 50Гц.
Срок службы лебедки - 10 лет.
| Характеристики | У5120.60 |
| Макс. тяговое усилие, кгс | 630 |
| Скорость навивки каната на 1-м слое, м/сек | 0,58 |
| Канатоемкость барабана, м | 130 |
| Мощн. электродвигателя при ПВ 40%, кВт | 4,0 |
| Редуктор | 1Ц2У-160 |
| Передаточное число редуктора | 19,79 |
| Тип тормоза | ТКГ-160 |
| Диаметр каната, мм | 8,3 |
| Вес лебедки без каната, кг | 242 |
| Габариты, мм | 840×835×800 |
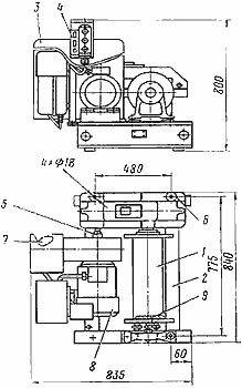
Состав лебедки:
1 - Барабан в сборе;
2 - Рама;
3 - Кожух;
4 - Установка пусковой аппаратуры;
5 - Муфта;
6 - Прочие изделия;
7 - Редуктор;
8 - Тормоз;
9 - Электродвигатель;
10 - Канат






Провод ПЭТВ-2, ПЭВТЛ-2, TIW-B, ПНЭТ, ПСДКТ, ПЭШО, ПЭЛШО, литцендрат ЛЭП, ЛЭЛО,ЛЭШО,ЛЭПКО
Провод гибкий, МПТФ, МПО 33-11, МПО, МПМ, МЛТП, МГТФЭ, НВЭ, НВ-4, НВ-1, ПУГВ, МГШВ, МП37-12, МПЭ37-12, МС, МСЭО16-13, 5-11,26-13, БИФ-Н, БИФ, БИФЭЗ-Н, ПТЛ, БИН
Нихром в лентах, катушках Х20Н80, вольфрам ВА-А-I, молибден проволока М4-I-А, манганин ПЭМ, ПЭШОМ, константан ПЭК, ПЭШОК, фехраль Х23Ю5Т, кабель термопарный


